前几天趁着HostDare搞黑色星期五活动,入手了一台HostDare洛杉矶三网优化VPS(电信CN2 GIA、联通9929、移动CMIN2),几天使用下来,感觉HostDare的体验还是发非常不错的,今天就简单测一测HostDare三网优化VPS性能和网络,分享出来供大家参考。需要说明的是,由于每个人的网络环境和认知的不同,对于HostDare的看法可能各异,本文仅代表个人观点。请大家购买VPS主机时结合自己使用场景、网络环境等合理选购。
- HostDare官方网站:https://hostdare.com/
- HostDare最新优惠:https://hostdare123.com/youhuima.html
测试方案
本次测试基于CAMD0,优惠前$37.99/年,使用优惠码后实际付款$24.69/年,可申请内存和流量翻倍,配置如下(翻倍后):
- CPU:1 核心
- 内存:1.5 GB
- 硬盘:10 GB NVMe SSD
- 流量:500 GB @ 30 Mbps
- 价格:
$37.99/年$24.69/年 - 链接:点击购买
硬件信息
基础信息
---------------------基础信息查询--感谢所有开源项目----------------------
CPU 型号 : AMD EPYC-Rome Processor
CPU 核心数 : 1
CPU 频率 : 1996.250 MHz
CPU 缓存 : L1: 32.00 KB / L2: 512.00 KB / L3: 16.00 MB
AES-NI指令集 : ✔ Enabled
VM-x/AMD-V支持 : ❌ Disabled
内存 : 265.46 MiB / 1.45 GiB
Swap : 97.48 MiB / 256.00 MiB
硬盘空间 : 3.56 GiB / 9.74 GiB
启动盘路径 : /dev/vda1
系统在线时间 : 11 days, 9 hour 13 min
负载 : 0.24, 0.06, 0.02
系统 : Debian GNU/Linux 12 (bookworm) (x86_64)
架构 : x86_64 (64 Bit)
内核 : 6.1.0-31-amd64
TCP加速方式 : cubic
虚拟化架构 : KVM
NAT类型 : Full Cone
IPV4 ASN : AS40065 CNSERVERS LLC
IPV4 位置 : Los Angeles / California / US
CPU信息
通过cat /proc/cpuinfo命令可以看到机器的CPU信息如下:
root@Hostdare123:~# cat /proc/cpuinfo
processor : 0
vendor_id : AuthenticAMD
cpu family : 23
model : 49
model name : AMD EPYC-Rome Processor
可以看出,这是一颗 AMD EPYC(霄龙)系列的CPU,属于 “Rome”(罗马)架构,但没有给出具体型号。从【CPU family: 23, Model: 49】可以得出以下结论:Model 49 对应的是AMD EPYC 7002系列(Rome)中的多款处理器,如 EPYC 7282、EPYC 7302、EPYC 7402 ,但不能确定。
CPU测试:
------------------------CPU测试--通过sysbench测试-------------------------
-> CPU 测试中 (Fast Mode, 1-Pass @ 5sec)
1 线程测试(单核)得分: 1649 Scores
内存信息
通过free -m命令查看内存信息如下(已安装AMH面板的情况下):
root@Hostdare123:~# free -m
total used free shared buff/cache available
Mem: 1485 466 68 1 1126 1018
Swap: 255 1 254
内存读写测试:
--------------------内存测试--感谢lemonbench开源----------------------------
-> 内存测试 Test (Fast Mode, 1-Pass @ 5sec)
单线程读测试: 44403.35 MB/s
单线程写测试: 20173.11 MB/s
硬盘信息
硬盘读写测试:
--------------------磁盘dd读写测试--感谢lemonbench开源--------------------
-> 磁盘IO测试中 (4K Block/1M Block, Direct Mode)
测试操作 写速度 读速度
100MB-4K Block 25.8 MB/s (6311 IOPS, 4.06s) 48.0 MB/s (11723 IOPS, 2.18s)
1GB-1M Block 1.7 GB/s (1604 IOPS, 0.62s) 249 MB/s (237 IOPS, 4.22s)
----------------------磁盘fio读写测试--感谢yabs开源-----------------------
Block Size | 4k (IOPS) | 64k (IOPS)
------ | --- ---- | ---- ----
Read | 55.73 MB/s (13.9k) | 1.39 GB/s (21.8k)
Write | 55.88 MB/s (13.9k) | 1.40 GB/s (21.9k)
Total | 111.61 MB/s (27.9k) | 2.80 GB/s (43.8k)
| |
Block Size | 512k (IOPS) | 1m (IOPS)
------ | --- ---- | ---- ----
Read | 1.52 GB/s (2.9k) | 1.55 GB/s (1.5k)
Write | 1.60 GB/s (3.1k) | 1.66 GB/s (1.6k)
Total | 3.13 GB/s (6.1k) | 3.21 GB/s (3.1k)
网络信息
流媒体解锁
---------------流媒体解锁--感谢oneclickvirt/UnlockTests测试----------------
Can not detect IPv6 Address
测试时间: 2025-11-27 21:15:54
IPV4:
============[ 跨国平台 ]============
Apple YES (Region: USA)
BingSearch YES (Region: US)
Claude YES
Dazn Banned
Disney+ NO (forbidden-location)
Gemini YES (Region: US)
GoogleSearch YES
Google Play Store YES (Region: US)
IQiYi YES (Region: US)
Instagram Licensed Audio YES
KOCOWA YES
MetaAI NO (GeoBlocked)
Netflix NO
Netflix CDN NO (Main Service Unavailable) (Region: US)
OneTrust YES (Region: US CALIFORNIA)
ChatGPT YES (Region: US)
Paramount+ YES
Amazon Prime Video YES (Region: US)
Reddit NO
SonyLiv YES (Region: US)
Sora YES (Region: US)
Spotify Registration YES (Region: US)
Steam Store YES (Community Available) (Region: US)
TVBAnywhere+ YES (Region: US)
TikTok YES (Region: US)
Viu.com YES
Wikipedia Editability YES
YouTube Region YES
YouTube CDN LAX
---------------------TikTok解锁--感谢lmc999的源脚本---------------------
Tiktok Region: 【US】
IP质量检测
-------------IP质量检测--基于oneclickvirt/securityCheck使用--------------
数据仅作参考,不代表100%准确,如果和实际情况不一致请手动查询多个数据库比对
以下为各数据库编号,输出结果后将自带数据库来源对应的编号
ipinfo数据库 [0] | scamalytics数据库 [1] | virustotal数据库 [2] | abuseipdb数据库 [3] | ip2location数据库 [4]
ip-api数据库 [5] | ipwhois数据库 [6] | ipregistry数据库 [7] | ipdata数据库 [8] | db-ip数据库 [9]
ipapiis数据库 [A] | ipapicom数据库 [B] | bigdatacloud数据库 [C] | dkly数据库 [D] | ipqualityscore数据库 [E]
ipintel数据库 [F] | ipfighter数据库 [G] | fraudlogix数据库 [H] | cloudflare数据库 [I] |
IPV4:
安全得分:
信任得分(越高越好): 31 [8]
VPN得分(越低越好): 7 [8]
代理得分(越低越好): 100 [8]
社区投票-无害: 0 [2]
社区投票-恶意: 0 [2]
威胁得分(越低越好): 99 [8]
欺诈得分(越低越好): 65 [E]
滥用得分(越低越好): 0 [3]
ASN滥用得分(越低越好): 0.0017 (Low) [A]
公司滥用得分(越低越好): 0.0059 (Low) [A]
威胁级别: low [9]
流量占比: 真人(越高越好)15% [I] 机器人(越低越好)84% [I]
黑名单记录统计:(有多少黑名单网站有记录):
无害记录数: 0 [2] 恶意记录数: 0 [2] 可疑记录数: 0 [2] 无记录数: 95 [2]
安全信息:
使用类型: business [8] hosting [0 3 7 9 A C]
公司类型: hosting [0 7 A]
浏览器类型: 主流80% 其他19% [I]
设备类型: 桌面63% 移动36% 其他0% [I]
操作系统类型: 主流94% 其他5% [I]
是否云提供商: Yes [7]
是否数据中心: No [8] Yes [0 5 6 A C G]
是否移动设备: No [5 A C G] Yes [E]
是否代理: Yes [E G] No [0 4 5 6 7 8 9 A C]
是否VPN: No [0 6 7 A C] Yes [E G]
是否TorExit: No [7]
是否Tor出口: No [7]
是否网络爬虫: No [9 A E]
是否匿名: No [6 7 8]
是否攻击者: No [7 8]
是否滥用者: No [7 8 A C E]
是否威胁: No [7 8 C]
是否中继: No [0 7 8 C]
是否Bogon: No [7 8 A C]
是否机器人: No [E]
DNS-黑名单: 314(Total_Check) 0(Clean) 10(Blacklisted) 17(Other)
Google搜索可行性:NO
邮件端口检测
------------邮件端口检测--基于oneclickvirt/portchecker开源------------
Platform SMTP SMTPS POP3 POP3S IMAP IMAPS
LocalPort ✔ ✔ ✔ ✔ ✔ ✔
QQ ✔ ✔ ✔ ✘ ✔ ✘
163 ✔ ✔ ✔ ✘ ✔ ✘
Sohu ✔ ✔ ✔ ✘ ✔ ✘
Yandex ✔ ✔ ✔ ✘ ✔ ✘
Gmail ✔ ✔ ✘ ✘ ✘ ✘
Outlook ✔ ✘ ✔ ✘ ✔ ✘
Office365 ✔ ✘ ✔ ✘ ✔ ✘
Yahoo ✔ ✔ ✘ ✘ ✘ ✘
MailCOM ✔ ✔ ✔ ✘ ✔ ✘
MailRU ✔ ✔ ✘ ✘ ✔ ✘
AOL ✔ ✔ ✘ ✘ ✘ ✘
GMX ✔ ✔ ✔ ✘ ✔ ✘
Sina ✔ ✘ ✔ ✘ ✔ ✘
Apple ✘ ✔ ✘ ✘ ✘ ✘
FastMail ✘ ✔ ✘ ✘ ✘ ✘
ProtonMail✘ ✘ ✘ ✘ ✘ ✘
MXRoute ✔ ✘ ✔ ✘ ✔ ✘
Namecrane ✔ ✔ ✔ ✘ ✔ ✘
XYAMail ✘ ✘ ✘ ✘ ✘ ✘
ZohoMail ✘ ✔ ✘ ✘ ✘ ✘
Inbox_eu ✔ ✔ ✔ ✘ ✘ ✘
Free_fr ✘ ✔ ✔ ✘ ✔ ✘
回程线路检测
-------------上游及三网回程--基于oneclickvirt/backtrace开源--------------
国家: US 城市: Los Angeles 服务商: AS40065 CNSERVERS LLC
AS1299 AS3257 AS4809 AS3356
Arelion GTT China Telecom Next Lumen
Tier1 Global Tier1 Global Direct Tier1 Indirect
北京电信v4 219.141.140.10 电信CN2GIA [精品线路]
北京联通v4 202.106.195.68 联通9929 [优质线路]
北京移动v4 221.179.155.161 移动CMI [普通线路] 移动CMIN2 [精品线路]
上海电信v4 202.96.209.133 电信CN2GIA [精品线路]
上海联通v4 210.22.97.1 联通9929 [优质线路] 联通4837 [普通线路]
上海移动v4 211.136.112.200 移动CMI [普通线路] 移动CMIN2 [精品线路]
广州电信v4 58.60.188.222 电信CN2GIA [精品线路]
广州联通v4 210.21.196.6 联通9929 [优质线路]
广州移动v4 120.196.165.24 移动CMI [普通线路] 移动CMIN2 [精品线路]
成都电信v4 61.139.2.69 电信CN2GIA [精品线路]
成都联通v4 119.6.6.6 联通9929 [优质线路] 联通4837 [普通线路]
成都移动v4 211.137.96.205 移动CMI [普通线路] 移动CMIN2 [精品线路]
----------------------回程路由--基于nexttrace开源-----------------------
依次测试电信/联通/移动经过的地区及线路,核心程序来自nexttrace,请知悉!
广州电信 58.60.188.222
0.68 ms AS40065 美国 加利福尼亚州 洛杉矶 cnservers.com
0.75 ms AS40065 [DATA-CENTRE] 美国 加利福尼亚 洛杉矶 cnservers.com
158.25 ms * [CN2-BackBone] 中国 广东 广州 chinatelecom.cn 电信
157.02 ms * [CN2-BackBone] 中国 广东 广州 chinatelecom.cn 电信
160.80 ms * [CN2-BackBone] 中国 广东 广州 chinatelecom.cn 电信
165.32 ms AS4134 中国 广东 佛山市 chinatelecom.com.cn 电信
广州联通 210.21.196.6
0.66 ms AS40065 美国 加利福尼亚州 洛杉矶 cnservers.com
150.01 ms AS10099 [CUG-BACKBONE] 美国 加利福尼亚 洛杉矶 chinaunicomglobal.com 联通
229.95 ms AS10099 [CUG-BACKBONE] 中国 上海 chinaunicomglobal.com 联通
225.26 ms * [CNC-BACKBONE] 中国 上海
249.48 ms AS9929 [CNC-BACKBONE] 中国 广东 广州 chinaunicom.cn 联通 CUII
249.14 ms * [CNC-BACKBONE] 中国 广东 广州
176.81 ms AS17623 [APNIC-AP] 中国 广东 深圳 chinaunicom.cn 联通
177.74 ms AS17623 中国 广东 深圳 宝安区 chinaunicom.cn 联通
广州移动 120.196.165.24
0.88 ms AS40065 美国 加利福尼亚州 洛杉矶 cnservers.com
0.62 ms AS58807 [CMIN2-NET] 中国 香港 cmi.chinamobile.com
200.13 ms AS58807 [CMIN2-NET] 美国 加利福尼亚 洛杉矶 cmi.chinamobile.com 移动
199.66 ms AS58807 [CMIN2-NET] 中国 上海 洛杉矶-上海 cmi.chinamobile.com 移动
202.92 ms AS9808 [CMNET] 中国 上海 X-I chinamobileltd.com 移动
199.00 ms AS9808 [CMNET] 中国 上海 I-C chinamobileltd.com 移动
197.20 ms AS9808 [CMNET] 中国 上海 chinamobileltd.com
206.65 ms AS9808 [CMNET] 中国 北京 chinamobileltd.com 移动
153.60 ms AS9808 [CMNET] 中国 北京 chinamobileltd.com 移动
181.20 ms AS56040 [APNIC-AP] 中国 广东 深圳 gd.10086.cn 移动
带宽测试
---------------------自动更新测速节点列表--本脚本原创----------------------
位置 上传速度 下载速度 延迟
Speedtest.net 92.27Mbps 97.26Mbps 1.18ms
洛杉矶 98.77Mbps 97.52Mbps 889.64ms
日本东京 61.08Mbps 21.37Mbps 108.72ms
联通上海5G 9.82Mbps 0.00Mbps 214.92ms
电信浙江 54.25Mbps 34.41Mbps 139.31ms
电信Suzhou5G 53.93Mbps 19.04Mbps 162.88ms
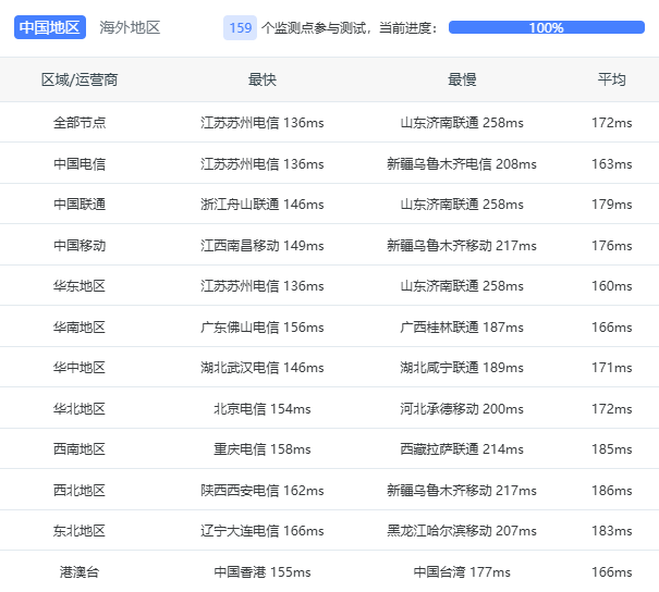
网络延迟

丢包测试
测试时间:北京时间21:30

